松下8月份的一项新专利披露了一个带有可变电子ND滤镜相机的设计。不知道松下是否可以成功地将这一想法引入到电影拍摄当中。

电子滤镜设计

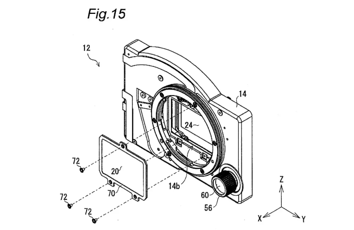
光学滤镜设计



滤镜装置设计

电子滤镜

旋转机制

进光途径

①本网转载并注明来源的文章(作品),目的在于传递更多信息,并不代表本网赞同其观点或证实其内容的真实性,不承担此类文章(作品)侵权行为的直接责任及连带责任。其他媒体、网站或个人从本网转载时,必须保留本网注明的文章(作品)来源,并自负版权等法律责任。
②如涉及文章(作品)内容、版权等问题,请在作品发表之日起一周内与本网联系,我们将在您联系我们之后72小时内予以删除,否则视为放弃相关权利。
                        ②如涉及文章(作品)内容、版权等问题,请在作品发表之日起一周内与本网联系,我们将在您联系我们之后72小时内予以删除,否则视为放弃相关权利。