佳能专利2023166867(日本,2023年11月22日发布)讨论了佳能下一代自动对焦技术——四像素自动对焦技术的方法和技术。
专利文献提到:
利用图像传感器垂直和水平长度不同的信号输出,利用图像平面相位差法进行焦点检测,提高焦点检测的性能。

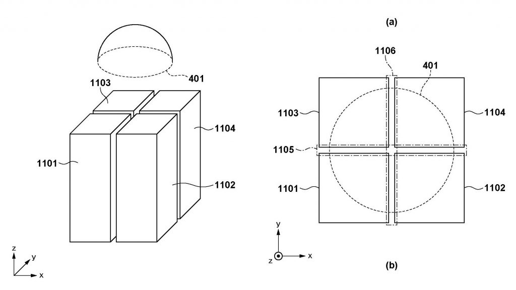
成像表面相位差方法的示例,一种使用二维成像元件的成像装置,其中对于一个像素形成一个微透镜和多个分割的光电转换段,它公开于专利文献1。所述多个光电转换单元配置为通过一个微透镜接收通过成像透镜的出口瞳孔的不同区域透射的光,并进行瞳孔分割。然后,通过计算作为各光电转换单元信号的相位差信号的像移量,可以进行相位差法的焦点检测。此外,通过将每个像素的各个光电转换单元的信号相加,可以获得正常的图像信号。此外,专利文献1公开了一种配置,其中通过在像素中布置具有不同高度的光电转换部分间的分离屏障,利用多种类型的像素来增加像素的饱和电阻。
在该图像传感器中,在一个像素内多个光电转换单元水平排列且瞳孔划分方向为水平的配置,例如,当被摄物具有水平条纹图案时,视差可能难以看到,并且焦点检测精度可能会下降。
另一方面,专利文献公开了一种通过为每个微透镜提供两种类型的光电转换单元排列方向和两种类型的瞳孔划分方向来提高焦点检测精度的技术。此外,专利文献公开了一种分离垂直相邻光电转换单元的结构和分离水平相邻光电转换单元的结构,具有允许电荷泄漏到相邻光电转换单元的结构。采用该结构,所接收的过饱和电荷超过了一个光电转换段所能积累的电荷量,并在按预定方向排列的不同光电转换段中积累。即使在饱和情况下,水平或垂直相位差焦点检测也是可能的。
大多数传统的图像传感器没有1:1的宽高比。因此,当在图像传感器上布置垂直方向采用焦平面相位差法的对焦检测像素和水平方向采用像平面相位差法的对焦检测像素时,使用焦平面相位差法进行对焦检测是困难的,特别是在图像传感器的外围。性能偏向于垂直或水平方向。
专利文献所述的图像传感器根据像素的饱和状态改变光电转换单元的分离状态。因此,根据图像传感器的长宽比,在垂直聚焦检测像素和水平聚焦检测像素的光电转换单元之间分别出现电荷串扰状态(电荷泄漏到相邻光电转换单元的现象)。控制上述问题是不可能的,解决不了上述问题。
此外,专利文献显示的图像传感器没有在光电转换段不饱和时控制电荷串扰的配置,也没有根据图像传感器的长宽比控制光电转换段之间的电荷串扰的配置。所以上述问题无法解决。
鉴于上述问题,本发明旨在利用具有不同长度和宽度的图像传感器输出的信号,利用图焦平面相位差方法改进焦点检测中的焦点检测性能。
②如涉及文章(作品)内容、版权等问题,请在作品发表之日起一周内与本网联系,我们将在您联系我们之后72小时内予以删除,否则视为放弃相关权利。